Skip to content
View in the app

A better way to browse. Learn more.

Cheers & Gears

A full-screen app on your home screen with push notifications, badges and more.

To install this app on iOS and iPadOS
  1. Tap the Share icon in Safari
  2. Scroll the menu and tap Add to Home Screen.
  3. Tap Add in the top-right corner.
To install this app on Android
  1. Tap the 3-dot menu (⋮) in the top-right corner of the browser.
  2. Tap Add to Home screen or Install app.
  3. Confirm by tapping Install.

Alternative Fuels & Propulsion RANDOM

Featured Replies

And note the logo clearly implies trucks.  Unless they are going to sedans w/ vertical rear windows and long decklids ::)

  • Replies 3.9k
  • Views 1.5m
  • Created
  • Last Reply

Top Posters In This Topic

Most Popular Posts

  • Haha, while ignoring the elephant in the room... CALIFORNIA... the biggest whiny brat in the union.

  • Drew Dowdell
    Drew Dowdell

    So, you're not wrong, but just wanted to zoom in a bit for more detail.... Storms do happen, no grid is ever 100%.  I lose power shockingly often for being only ~10 miles from a downtown metro ar

  • riviera74
    riviera74

    Hard Pass on "shared mobility".  If I want shared mobility, I will get a bus pass or take a train.

Posted Images

GM is dropping the ball in so many ways these days.

  • Author

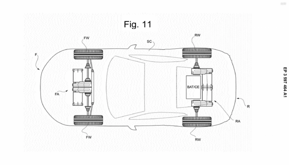
According to TheDrive that was reviewing Ferrari's patent filings, seems their next supercar will be a quad motor AWD EV. Lot more pics at the story and it clearly is also taking into account having a Ferrari EV CUV it would seem based on these patent filings.

Kiss another auto maker ICE auto's going bye bye down the road.

https://www.thedrive.com/news/31990/ferraris-first-ev-could-have-quad-motor-all-wheel-drive-patents-suggest

image.png

Quote: Depending on packaging requirements, Ferrari can either join a pair of these units by their motors for rear-drive applications (left) or by their step-down boxes (center) for front-axle use, the latter likely only on an all-wheel-drive vehicle. In theory, that could give Ferrari's EV the ability to mimic Rivian's tank turn, but it's hard to imagine the haughty Ferrari having enough of a sense of humor to program a feature like that into its products.

Interesting...I wonder if they will engineer in short circuits for starting random fires..that was one thing the mid engined Ferraris were quite well known for (though usually fuel system related). 

Edited by Robert Hall

46 minutes ago, Robert Hall said:

Interesting...I wonder if they will engineer in short circuits for starting random fires..that was one thing the mid engined Ferraris were quite well known for (though usually fuel system related). 

Gotta keep that tradition alive, man.  

EVs seems to do that inherently, so it'll be 'built in'.

  • Author

Amazon has Rivian for their vans, UPS now has Arrival for theirs out of the UK. UPS invested into Arrival and ordered 10,000 EV Delivery Vans.

https://www.autoblog.com/2020/01/29/ups-deliveries-arrival-vans-waymo/

  • Author

Interesting that Tesla Dyno Mode is in the auto's but to go into this mode you have to look at how others have done it since Tesla does not talk about it. dynotest is the pass word.

 

The reason Tesla is not talking about Dyno mode is the morons that do not have an idea of how to properly drive an auto with all the torque and power.

 

I have to say the Tesla Model Y is BUTT UGLY!

https://www.tesla.com/modely

image.png

Honestly not impressed with the spec's.

image.png

So is there a consensus forming yet that a motoring public at large —known to have mediocre driving skills, are commonly heavily distracted and are in desperate need of autonomous vehicles to take over for them.... that putting that huge pool of drivers in vehicles that can do 0-60 in 3 secs is INCREDIBLY stupid?  
 

Or will we have to chart a sharp rise in fatalities before EVs are restricted to much more mundane performance to better match the skill set at large? ??

  • Author

Ordering FAQ - Guess Tesla is not able to get the $1,000 deposit they used to as now you only have to put in a $100 non-refundable deposit. Also interesting that more folks are trading their S in on the model Y. That speaks volumes about the Model S.

image.png

  • Author

OUCH, Fully loaded performance with the self driving system is a $68,990 before tax, delivery and other unidentified fees. Way better looking EVs coming for less money. Heck even the Mustang Mach e is better looking than this auto.

image.png

Looks exactly like what I expected, a Model3/X combination,  Tesla egg-like greenhouse.  Mach E is really its only obvious competitor currently minus the self driving and range (also $500 deposit), but I'm sure in three years or so there will be more.  Hopefully the competition will catch up on the battery tech/efficiency this decade.

 

  • Author

Some EV news for today:

Seems the 2020 Porsche Taycan Turbo S has far more range than the EPA numbers suggest. Car has 201 EPA range, but they were able to get 287 out of the auto driving in normal mode.

https://www.autoblog.com/2020/02/03/2020-porsche-taycan-turbos-range-test/

New GOLF R is running the ID-R power train and setting records.

https://www.autoblog.com/2020/01/31/vw-e-performance-golf-r-concept-previews-r-divisions-future/

volkwagen-e-performance-golf-r-concept-z

Mercedes-Benz EQS Sedan caught testing around California.

https://www.autoblog.com/2020/01/31/mercedes-benz-eqs-ev-sedan-shown-in-camo/

Mercedes-Benz AG - Global Communications Mercedes-Benz Cars & Vans; photo by Tim Adler / Photography on behalf of Mercedes-Benz AG

42 minutes ago, dfelt said:

Some EV news for today:

Seems the 2020 Porsche Taycan Turbo S has far more range than the EPA numbers suggest. Car has 201 EPA range, but they were able to get 287 out of the auto driving in normal mode.

https://www.autoblog.com/2020/02/03/2020-porsche-taycan-turbos-range-test/

 

 

 

 

From that link:

Quote

Better still, the numbers didn’t plummet on a more spirited road trip. Higher speeds and a bit of light hooning up a mountain had an effect, but it was nothing like I expected. My projected range was still more than 50 miles better than its official rating after all that. So let’s agree to stop wringing our collective hands about the 2020 Porsche Taycan Turbo’s range. It’s more than fine.

That is the last paragraph.  In summary of course of what that 'journalist"...automotive jolurnalist wrote...

that word I bolded up there...PROJECTED... 

Its flung around like soiled underwear.

Quote

I begin to get optimistic about the Taycan’s chances after about two hours. The number of remaining miles far exceeds expectations, to the point where the projected range works out to well over 260 miles. But I’m only about one-quarter of the way home. Too early to celebrate.

 

Quote

I check the range gauges at the end of my 20-minute detour. The blast up and down the mountain cost me, but with 113.6 miles driven, the car says it still has 132 miles left in it. That’s still 245.6 miles of projected range. I’m impressed.

 

Quote

The numbers seem to bear that out. Once I’m at the bottom, I meet up with my friends, drive to the far edge of town to take some sunset pictures of the car, then go out to dinner. Finally back at their place, the two meters read 167.5 miles driven and 86 miles to go. That works out to 253.5 miles of projected range, otherwise known as 7.9 more miles than I had at the top of S22.

 

How many miles did this guy actually drive?

NEVER YOU MIND WITH THE PROJECTED MILES...

Every other Tesla Model S adventure drive Ive read...the "journalist" in question would actually detail the ACTUAL mileage in real life and actually compare the computer's PROJECTED mileage...

This guy here...NONE of that is present in his Porsche paid ADVERTISEMENT of the Taycan...

You want proof?

Here:

Quote

It's true that most EVs can exceed their rated range when driven prudently, but I've never seen this much margin on this course. Still, an EV's published range is conservative by design, the result of lopping 30 percent off the number generated by the EPA test protocol. As it happens, 201 miles is exactly what you get if you take 30 percent off my 287-mile result. I'm not saying that my course mimics the EPA EV test pattern exactly, but maybe this result says something about the by-the-book nature of Porsche's numbers in the context of the EPA procedure.

WTF does the EPA have to do with published times it gives and his "real world" driving WITHOUT A DIRECT comparison WITH a TESLA MODEL S?

When driven prudently he says...

ITS A PORSCHE SPORTS SEDAN FOR PHOQUE'S SAKE!!!

I aint doubting that the Taycan CAN do what it did on this particular day...the thing is...what would Porsche's competitor have accomplished on the same day on the same trail...

And push come to shove...

Push the damned cars and be driven a tad more lively...to actually see how efficient they actually are...

Yes...have a Tesla Model S and push both and actually see how the Taycan measures up...

Because I have a feeling...a Nissan Leaf and Chevrolet Bolt could also replicate this "test" in the same less than aspiring driving romp....   No need to spend 2-3 times the $$$ for the un-impressive badge on the front...

Because Tesla would probably the badge to get in this case to show off in...

Quote

Instead, I’ll add the miles remaining, if any, to the number of miles driven. This “projected range” figure should be quite accurate because the distance-to-empty calculation should be mature after all that time. Then I’ll plug it in and calculate consumption after it’s full. The Taycan’s consumption rating is 49 kilowatt-hours per 100 miles (kWh/100), which is frankly terrible.

 

I hate this kind of bullshyte paid advertising journalism...I see it coming from very far away...

Edited by oldshurst442

  • Author

OUCH, Tesla is NOT helping themselves with changing the warranty to avoid fixing their poor fit n finish auto's. Seems they are not responsible for paint issues, rust, seats, controller modules memory issues, battery issues, etc. etc. etc. Man why would anyone want to buy a new auto from them when once it is off the factory floor, they do not want to be responsible for it during the warranty period. PATHETIC.

https://insideevs.com/news/396389/tesla-warranty-terms-change/

Ford Engineering is pointing out just how poorly made Tesla auto's are especially the Tesla 3 with the rust issues and more. Mach-e is a better built EV. Read the engineers comments, talk about blasting Tesla for shoddy engineering work. :D 

https://insideevs.com/news/396298/ford-mach-e-better-than-tesla/

Canada is Rocking Solid State Battery technology. Very cool stuff. Good People at Hydro Quebec have this battery going into production, be interesting to see which auto company is the first to use it.

https://insideevs.com/news/396468/hydro-quebec-goodenough-solid-state-battery/

OUCH Tesla owner turns after light turns yellow to red, SUV runs the Red and hits the Tesla. All caught on dashcam.

.

  • Author

Toyota and Panasonic are tying up together with the same kind of deal to produce EV battery packs much like Tesla has done. Tesla has since diversified in signing battery supply agreements with LG and CATL in China. Panasonic has stated that Toyota will own 51% of the new Prime Battery company. The physical shape is the same as Tesla, but the composition is very different according to the companies. Tesla has also indicated it could move forward with building it's own batteries. As such Japanese battery suppliers have acknowledged they cannot stand on the sidelines in the on coming EV auto industry.

https://electrek.co/2020/02/03/toyota-panasonic-to-launch-big-venture-for-making-ev-batteries-starting-april/

Interesting that Toyota says their is no demand in the US or most of the world for EV's but they will launch 3 by 2021 and have next year their first EV in China which is stating by 2025 to have 20% pure EV sales, 40% by 2030 and 60% by 2035. End result is Toyota has to become an EV auto maker. This will trickle over into other markets as well.

https://www.autonews.com/china/china-explores-ambitious-goal-ev-sales-2035

1 hour ago, dfelt said:

Interesting that Toyota says their is no demand in the US or most of the world for EV's

100% true.  Honda says the same.  It is governments who are forcing this issue.  Not paying customers.  There will be a reckoning.  Something has to give.

2 hours ago, ocnblu said:

100% true.  Honda says the same.  It is governments who are forcing this issue.  Not paying customers.  There will be a reckoning.  Something has to give.

Governments may well be forcing the issue.  What should automakers do, hope for 1998 to return?

  • Author
16 hours ago, ocnblu said:

100% true.  Honda says the same.  It is governments who are forcing this issue.  Not paying customers.  There will be a reckoning.  Something has to give.

We'll when humans will not wake up to the FACT that ICE contributes to the destruction of the planet, then governments are forced to make the change for humanity survival. Nothing is perfect, but change is needed for the survival of the species.

25 minutes ago, dfelt said:

We'll when humans will not wake up to the FACT that ICE contributes to the destruction of the planet, then governments are forced to make the change for humanity survival. Nothing is perfect, but change is needed for the survival of the species.

Problem is at least 50% or more of the masses in the US don't care about survival of the species..they only care about their imaginary 'afterlife' and want to hasten the 'end times'....

At the end of the day dollar speaks.  I don't see any members of this forum driving electric vehicle yet.

Plus, where we get electricity, especially if the demand will spike with massive increase in EVs is another issue.

Another big debate is the materials necessary for current technology batteries, how they are procured and their impact on the environment.

The two above posters saying we don't care about the future and we should be in EVs are driving a Grand Cherokee, Escalade, Trailblazer SS, and a 90's Suburban. 

  • Author
4 minutes ago, ccap41 said:

The two above posters saying we don't care about the future and we should be in EVs are driving a Grand Cherokee, Escalade, Trailblazer SS, and a 90's Suburban. 

Yes that is true and I am OFFICIALLY on record in past posts that once Rivian or equal full size EVs are out that fit me I will be owning one. Since my newest auto is a 2008 and the oldest is a 1994 Suburban which is in project mode to be converted to electric. I am all for change and will change once auto's are out that I like and fit me and the wife likes.  One cannot just change when no options are there yet. Supporting the change is a start to get there eventually.

15 minutes ago, ykX said:

At the end of the day dollar speaks.  I don't see any members of this forum driving electric vehicle yet.

Plus, where we get electricity, especially if the demand will spike with massive increase in EVs is another issue.

Another big debate is the materials necessary for current technology batteries, how they are procured and their impact on the environment.

True, there are only a couple folks here that have stated they have or have driven EVs often. Most is that there are not enough options yet that people like and will fit as not all of us are compact or sub compact small.

We have electricity and more capacity comes on line all the time especially of green options. As demand increases for EVs, we will see more capacity and especially storage for Solar or wind generation increase so that we have it when needed.

Take a look here, updated as of December 2019. Plenty of new Solar plants coming online. https://www.seia.org/research-resources/major-solar-projects-list

Renewables is the big growth of additional power. https://renewablesnow.com/news/new-us-power-capacity-in-2019-will-come-from-renewables-natural-gas-eia-639117/

image.png

image.png

  • Author

Lordstown Motors now being called Voltage Valley has added more info including they are taking reservations for their  AWD in wheel hub motor pickup truck with base truck starting at $52,500. $100.00 deposit to pre-order.

https://lordstownmotors.com/

image.png

This story is interesting, production start Q3 of 2020 at Lordstown facility. https://www.forbes.com/sites/mergermarket/2019/11/25/upstart-lordstown-motors-racing-to-be-first-with-all-electric-pickup-truck/#4e93f9326bd0

They expect to beat everyone to market with the first EV Pickup Truck for sale.

image.png

image.png

  • Author

UK originally posted that the country would be tailpipe free by 2040 for new auto purchases. Today they have now released an updated report and where the PM of UK has been compared to President Trump in the US, there is one area that they are planets apart on and that is in regards to Climate Change. PM will roll out all the fine details of their new auto policy plan at COP26 that is being hosted in London. This plan is expected to post the new date of 2035 for the end of all ICE auto sales. An excelerated plan to increase installation of charging pads / plugs around the country as the UK goes EV 100%. The PM is mum but according to reports, this 2035 will also include the end of all Hybrid auto's allowed for sale.

UK posted statement on the end of all Gas and Diesel auto's of all types in the UK.

https://www.gov.uk/government/news/pm-launches-un-climate-summit-in-the-uk

Autocar among many UK publishing sites that says Hybrids and plug-in hybrids will also be gone come 2035.

https://www.autocar.co.uk/car-news/new-cars/updated-non-zero-emissions-cars-be-banned-uk-2035

According to autocar, the UK gov removed all subsidy's for hybrids / plug-in hybrids only keeping them for pure EVs.

The interesting part to watch will be if the European union changes their 2040 stance on baning all ICE auto's and Hybrids as they push pure EV along with China which has an aggressive time line of going tailpipe free by 2040.

Countries that have stated when ICE auto's will be illegal to buy new.

  • Dutch will end all gas and diesel auto sales by 2025.
  • India has announced all gas and diesel auto sales by 2030.
  • Norway has announced all gas and diesel auto sales by 2025.
  • France has announced all gas and diesel auto sales by 2040.
  • Britain has announced all gas and diesel auto sales by 2040 originally, now at COP26 the new date is 2035.
  • Germany has stated they are tentatively looking at 2040, but discussing this with their auto industry to set a firm end date of all ICE auto's.
  • Scottish government has announced all gas and diesel auto sales by 2032.

Data as of this story: https://www.vox.com/energy-and-environment/2017/9/13/16293258/ev-revolution

As of December 2019 the IEA organization has the following places also setting end of ICE auto sales.

  • Japan has planned on having 90% of all auto's EV by 2050 including all exports.
  • Canada has set a 30% ZEV rate by 2030 with 100% by 2040.
  • Korea has set a 10% rate by 2022 with an exit of ICE auto's by 2040
  • Chile which has the largest electric bus fleet in the world after China plans to have all transportation moved to EV by 2040
  • New Zealand plans to be ICE auto free by 2050.

https://www.iea.org/reports/global-ev-outlook-2019

image.png

Interesting to see the red line and how some markets took off much faster exceeding expected sales and then some are below expected sales of EVs.

7500lb towing, what's its payload? 

I'm not a huge fan of comparisons without the details of each vehicle. They didn't need to choose a 52k F150. With the minute details they chose, you could get an F150 that can tow 7500lbs that can get better than 18mpg for less than 52k.

Obviously, they picked and chose criteria that fit their agenda. 

  • Author
36 minutes ago, ccap41 said:

7500lb towing, what's its payload? 

I'm not a huge fan of comparisons without the details of each vehicle. They didn't need to choose a 52k F150. With the minute details they chose, you could get an F150 that can tow 7500lbs that can get better than 18mpg for less than 52k.

Obviously, they picked and chose criteria that fit their agenda. 

True hard to know without more details, but at least it was a close comparison based on the cost of the Lordstown truck. Will be cool if they get to market first.

  • Author

Very cool look at the inside of the GM EV1 from the 90's. Use your mouse, click and hold and drag around to see what it was like. Very minimalist like Tesla, but it had push button start, and other electronics was ahead of Tesla, Toyota, etc. Just a shame GM could not see the long game for EVs.

 

1 hour ago, dfelt said:

True hard to know without more details, but at least it was a close comparison based on the cost of the Lordstown truck. Will be cool if they get to market first.

7500lb towing isn't all that comparable and there are just too many variables that the F150(or add Silverado or Ram) can be had. 7500lb is comparable to the mid-size Colorado, Ranger, Gladiator, Frontier, and Tacoma. 

Edited by ccap41

2 hours ago, dfelt said:

Very cool look at the inside of the GM EV1 from the 90's. Use your mouse, click and hold and drag around to see what it was like. Very minimalist like Tesla, but it had push button start, and other electronics was ahead of Tesla, Toyota, etc. Just a shame GM could not see the long game for EVs.

 

The EV1 did not make it because the batteries were terrible.  Back then there were lead-acid batteries (for the car) and nickel-metal hydride batteries (for laptops and cellphones).  Lithium batteries came later.  If we had solid state batteries 30 years ago, the EV1 would have gone a long way into displacing ICE engines.  The other problem was that in 1998 oil was $10 a barrel.  TEN DOLLARS A BARREL!  Gas was very cheap back then and nobody would have cared for a fully BEV at all.  IF oil was $150 a barrel or higher and stayed there for at least five years, a lot of customers would be dying for a BEV and pay any price.

While I like the BEV as a concept and would like to see us forgo oil forever, BEVs must be cheap enough to displace USED CARS and be better than what we as a public can buy right now.  What we need is a $10K BEV version of a Model T (or a Model A).

  • Author

Amazon just spilled the beans on their Rivian based EV Delivery vans. Cool part is the Rivian platform is very stretchable and depending on the climate of where the van will be used it will either be FWD or AWD and come in lengths equal to regular or extended length delivery ICE vans and even have an extended length version that is more like a Crew cab pickup with 8 foot box length even though it is a van. There will be 3 different batteries used depending on size and climate to insure plenty of power and Alexa will be integrated into the vans. Very cool read.

https://www.slashgear.com/amazon-just-spilled-more-details-on-its-rivian-electric-delivery-vans-04608383/

Amazon just spilled more details on its Rivian electric delivery vans

 

 

rivian-amazon-details-2.jpg

rivian-amazon-details-1.jpg

  • Author

Rally Car Lovers Rejoice, RJ let the beans spill in an interview with Autoblog. Seems the 3rd auto from Rivian will be a Rally Inspired electric car.

rivian-rally-hatchback-prototype-1.jpg

RJ says they will use all the technology that is going into their truck and SUV in a lite weight rally inspired car that folks will love. Based on these spy pictures it looks to be a hatchback, Autoblog says reminds them of a Mazda 3. Not much else is known and since then RJ has been mum on it when ever anyone brings it up. They are focused on the Truck and SUV along with their Ford and Amazon obligations. One has to figure they are also still working this skunk project for future production, but do not want to take the excitement off their first to market products. Imagine a rally car with a 400, 500 or 600 mile battery pack, AWD.

https://www.autoblog.com/2019/02/12/rivian-rally-inspired-electric-car/#slide-1294254

  • Author

Florida is looking to become the 26th state that taxes EVs under the guise that they do not pay their share in road tax at the pump. With EVs making up only .06% of auto sales in the state, clearly there is other forces at work here and sure enough in looking at this you find big oil and the Koch brothers spending millions to get this in place to stop EVs. Crazy how they fear EVs.

https://chargedevs.com/newswire/floridas-proposed-ev-tax-raises-questions-of-fairness-and-corporate-influence/

Washington state just finished a year long study of which 5,000 citizens took part in having a GPS module added to their auto to monitor mileage and most found they paid less tax than they did with a tax bill on the gas as it was the most accurate but over 60% said at the end they did not like the Government having a GPS tracker on their auto.

My thought is that Mileage and weight of the auto taken into account is the best way to tax auto's over a gas tax. The way you get around the GPS or any tracking module is have yearly safety inspections which we do not have here and when they check to insure the auto is safe for the road, they record your mileage and you pay the mileage tax at the time you pay your renewal license.

What do others think on how we need to revamp our taxation on auto's? We seem to be growing toll roads at the same time that efficiency of auto's reduces gas tax revenue that is supposed to support road maintenance / replacement costs.

  • Author

Tesla has had the worlds largest charging network to date with 756 charging stations installed and setup over the last 8 years.

Everyone is aware that due to Dieselgate or the VW settlement with the government, Electrify America was created to install electric charging stations across America. Within the last 20 months  they have made astonishing progress and on Monday February 3rd announced their 400th Charging station. These stations being able to on average deliver 150 kWh of charge to auto's with many of the locations able to charge at 350 kWh which is almost double the fastest charge one can get at a Tesla V3 supercharger. Currently Electrify America is on target to have 800 Stations by December 2021 which means it could potentially pass Tesla for Charging locations in the near future. Coast to Coast charging network.

On top of this as Shell, Mobil and Exxon add pay to charge systems at their gas stations this will expand options for where one would charge.

Future looks very bright indeed. 

https://media.electrifyamerica.com/en-us/releases/90

6 hours ago, dfelt said:

Florida is looking to become the 26th state that taxes EVs under the guise that they do not pay their share in road tax at the pump. With EVs making up only .06% of auto sales in the state, clearly there is other forces at work here and sure enough in looking at this you find big oil and the Koch brothers spending millions to get this in place to stop EVs. Crazy how they fear EVs.

https://chargedevs.com/newswire/floridas-proposed-ev-tax-raises-questions-of-fairness-and-corporate-influence/

Washington state just finished a year long study of which 5,000 citizens took part in having a GPS module added to their auto to monitor mileage and most found they paid less tax than they did with a tax bill on the gas as it was the most accurate but over 60% said at the end they did not like the Government having a GPS tracker on their auto.

My thought is that Mileage and weight of the auto taken into account is the best way to tax auto's over a gas tax. The way you get around the GPS or any tracking module is have yearly safety inspections which we do not have here and when they check to insure the auto is safe for the road, they record your mileage and you pay the mileage tax at the time you pay your renewal license.

What do others think on how we need to revamp our taxation on auto's? We seem to be growing toll roads at the same time that efficiency of auto's reduces gas tax revenue that is supposed to support road maintenance / replacement costs.

It is unsurprising that my home state would do something this silly.  Florida is notorious for nickel and dime taxes on everything they can . . . . especially since there is no state income tax.  You would think that my state would LOVE EVs given how much its citizens love the environment but state legislators always have their hands out for more money, especially from legacy industries that can pay to play.

  • Author

I have heard of the stories of Tesla removing features from used auto's put up for sale in essence forcing the new buyer to have to repay to get said features back on the auto. Really sucks and I think is just one of many reasons I do not trust Tesla. Now it is finally getting news time with the latest story of Tesla selling auto's with a set of features and the auto bought at Tesla Auction is resold to a new customer only to have Tesla audit over the air the auto and remove $8,000 of features saying they never really paid for it.

https://jalopnik.com/tesla-remotely-removes-autopilot-features-from-customer-1841472617

I have to say this is a lawsuit as the paperwork shows the auto came with said features and it should not be removed. 

BAD TESLA, BAD

I would surely hope they had their law team go through this before taking those options away because that's REALLY crappy. 

There is probably something in the fine print that gives Tesla the right to enable/disable features like this. 

  • Author
2 minutes ago, Robert Hall said:

There is probably something in the fine print that gives Tesla the right to enable/disable features like this. 

Will be worth watching as this could have major ramifications on over the air updates / changes. Imagine you buy a fully loaded auto, go to resell it and then features disappear or become disabled by the OEM saying they did not get paid for selling the auto to a new owner with those features. very sucky. Major Suck Big Time!

2 minutes ago, dfelt said:

Will be worth watching as this could have major ramifications on over the air updates / changes. Imagine you buy a fully loaded auto, go to resell it and then features disappear or become disabled by the OEM saying they did not get paid for selling the auto to a new owner with those features. very sucky. Major Suck Big Time!

It all fits into software EULAs...like if you buy a used computer or phone..do you own any apps already on that phone or computer, or are entitled to software updates to the OS?   Seems like a gray area...

2 hours ago, Robert Hall said:

It all fits into software EULAs...like if you buy a used computer or phone..do you own any apps already on that phone or computer, or are entitled to software updates to the OS?   Seems like a gray area...

Software EULAs effectively state that you only own a license to USE the software, not actually own it.  Microsoft pioneered that about 40 years ago.  EULAs = no ownership rights.

15 hours ago, Robert Hall said:

There is probably something in the fine print that gives Tesla the right to enable/disable features like this. 

That was my initial thought, as well. 

15 hours ago, dfelt said:

Will be worth watching as this could have major ramifications on over the air updates / changes. Imagine you buy a fully loaded auto, go to resell it and then features disappear or become disabled by the OEM saying they did not get paid for selling the auto to a new owner with those features. very sucky. Major Suck Big Time!

The thing is, it's not sucky for Tesla's ACTUAL customers. It's sucky for the cheap-asses(myself included) who won't buy new. 

12 hours ago, riviera74 said:

Software EULAs effectively state that you only own a license to USE the software, not actually own it.  Microsoft pioneered that about 40 years ago.  EULAs = no ownership rights.

Good point....so yes, you might 'own' your Tesla, but Elon has the right to update or remove the crapware at anytime...

EVs at this point only make sense as a lease, wouldn't want to 'own' one...

7 minutes ago, ccap41 said:

That was my initial thought, as well. 

The thing is, it's not sucky for Tesla's ACTUAL customers. It's sucky for the cheap-asses(myself included) who won't buy new. 

I won't buy new either, but I wouldn't buy a used Tesla either...they are just lease appliances... the long term aspect of Teslas is too questionable.   As appliances, it's best to just recycle them after a few years...imagine how miserable life will be for some schmuck stuck with a dead 10 yr old Model S..  FTS.    It's like a cell phone, you don't want to be carrying around one that is 5 or 10 years old...

Edited by Robert Hall

  • Author

On the subject of Tesla, Musk has confirmed that in short term situations, the Model S does float as is proof in this eastern Europe video that a Tesla S owner posted showing all the ICE auto's that stalled out in a flooded tunnel and how his Model S using the wheels spinning was able to get around the auto's and out and continue on it's way. Sucks to be a standard ICE auto that day.

 

Unless you were in an old Beetle.

8 hours ago, dfelt said:

Sucks to be a standard ICE auto that day.

Yes but you're still in a crappy Tesla.  Much worse.

  • Author
1 hour ago, ocnblu said:

Yes but you're still in a crappy Tesla.  Much worse.

It would float by your Fiat, I mean Jeep, I mean Chevrolet, I mean .............. ?

  • Author

Very cool article on the pro's and con's of a Frunk. They ask if it is really a good use of the space or should the last few things like HVAC be pushed into the nose of the auto giving even more space in the cabin for other uses.

What does everyone here think about the Frunk? Good use, bad use.....

If no Frunk, what could the extra space inside be used for?

https://www.greencarreports.com/news/1127040_electric-car-frunks-bonus-space-or-wasted-opportunity

I will say that Ford does make some interesting ideas on the use such as Tailgating.

image.png

Very cool latest video about Rivian and where it started and where it is today.

RJ Started the company when he was 26. ? 

 

 

  • Author

Rivian was originally following Tesla as it started work on an electric car before switching to trucks and SUVs due to the market demand. They still have a rally car concept being worked on so it could still come out later as a much reduced sales niche model.

image.png

https://www.greencarreports.com/news/1127035_get-a-glimpse-inside-rivian-and-what-it-was-developing-before-electric-trucks

  • Author

Seems Electric auto sales have surpassed Manual ICE auto sales. 2019 only 1.1% of auto's sold were a Manual Transmission. Electric auto's were 1.6% of sales in 2019.

https://www.greencarreports.com/news/1127027_confirmed-electric-cars-outsold-manuals-for-the-first-time-in-2019

Join the conversation

You are posting as a guest. If you have an account, sign in now to post with your account.
Note: Your post will require moderator approval before it will be visible.

Guest
Reply to this topic...

Who's Online (See full list)

  • There are no registered users currently online

Account

Navigation

Search

Search

Configure browser push notifications

Chrome (Android)
  1. Tap the lock icon next to the address bar.
  2. Tap Permissions → Notifications.
  3. Adjust your preference.
Chrome (Desktop)
  1. Click the padlock icon in the address bar.
  2. Select Site settings.
  3. Find Notifications and adjust your preference.